首页 业界 要闻 快讯 热点 推荐 聚焦 头条
 
站内搜索:

适用于OnePlus 9系列的ColorOS 1

Microsoft正在开发一种用于Word

您现在的位置:主页 > 快讯 > 快讯
铸造件结构设计:壁厚均匀
更新时间:2020-09-27 12:34:41

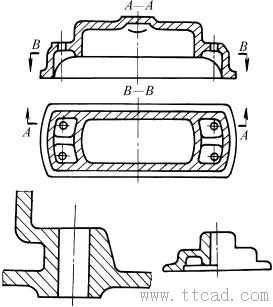
  铸造件结构设计:壁厚均匀 图 例 说 明

不合理

  

   合理 改进后壁厚均匀,避免了薄壁与厚壁的连接裂纹和厚壁的缩孔

不合理

  

  

合理

   改进后由加强肋代替厚壁,壁厚均匀

不合理

  

   合理 改进后利用嵌件使壁厚均匀;改进后壁厚均匀

不合理

  

   合理 改进后外形减小,壁厚均匀;改进后外形不变,壁厚均匀 不合理 合理 改进后壁厚均匀,增加配合凸台T