首页 业界 要闻 快讯 热点 推荐 聚焦 头条
 
站内搜索:

WhatsApp将在全球推出动画贴纸包

三星Galaxy Tab S7 Lite搭载Snap

您现在的位置:主页 > 快讯 > 快讯
切削件结构设计:采用组合部件
更新时间:2020-10-29 02:52:49

  切削件结构设计:采用组合部件

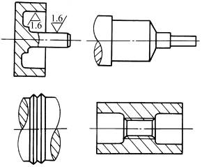
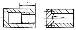
   图 例 说明

不合理

  

   合理 改进后,零件结构简单化,加工难度和加工量均减少 不合理 合理 改进后,内孔加工难度降低;改进后,球面加工难度降低